首页
公司简介
企业文化
组织结构
产品展示
工业精密连接器
端子线束
排针
排母
电声产品
磁性材料
FBT
FBR
FBH
FBXH
FBF
FBRC
服务支持
咨询服务
关于我们
联系我们
人才招聘
in
☏
香港富强集团发展有限公司
HongKong Future Group Developing Co.,L
td
当前位置:
首页
∷
产品展示
∷
磁性材料
∷
FBRC
FGD-FBRC/FGD-FBNF TYPE
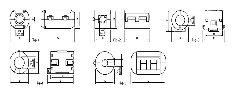
NO
Specifications
Fig
Dimensions:mm
Impedance(Ω) min
A
B
C
D
E
25MHz
100MHz
1
FGD-FBRC35B
1
13±1
11.8±1
5±0.8
25.5±1
2.5±1
70
170
2
FGD-FBRC70B
1
16.5±1
15±1
7± 0.8
30±1
2.5±1
75
170
3
FGD-FBRC 90B
1
19.5±1
18±1
9±0.8
35±1
5.5±1
80
200
4
FGD-FBRC 1330B
1
23_5±1
22.2±1
13.5±0.8
36±1
10.5±1
65
165
5
FGD-FBNF65
2
17.5±1
19.5±1
6.5±0.8
32.5±1
/
120
135
6
FGD-FBNF100
2
22±1
23.5±1
10±0.8
33±1
/
70
235
7
FGD-FBNF130
2
29±1
30±1
13±0.8
32±1
/
120
200
8
FGD-FBRC 16-13-8
3
19.5±1
23±1
8±0.8
17±1
23±1
40
85
9
FGD-FBRC 16-16-8
3
19.5±1
23±1
8±0.8
19.5±1
/
60
140
10
FGD-FBRC 70
4
15.5 + 1
14±1
7±0.8
18±1
22±1
40
110
11
FGD-FBRC 90A
4
20±1
/
9±0.8
31.5±1
35.5±1
75
205
12
FGD-FBRC130B
4
30±1
/
13±0.8
34±1
39±1
110
240
13
FGD-FBRC 50
5
16.5±1
/
5±0.8
29.5±1
/
65
160